背面

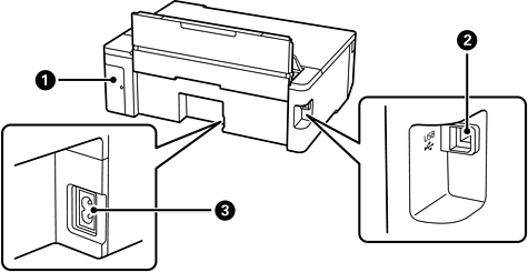
メンテナンスボックスカバー

メンテナンスボックスを交換するときに取り外します。取り外しにはマイナスドライバーが必要です。メンテナンスボックスは、クリーニング時や印刷時に排出される廃インクを溜める容器です。

USBポート

コンピューターと接続するためのUSBケーブルを接続します。

電源コネクター

電源コードを接続します。