
|
|
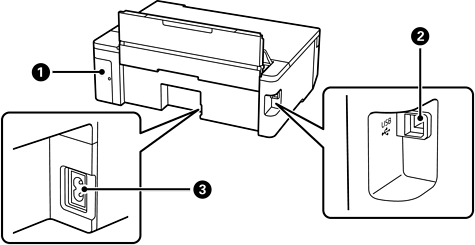
Afdekking onderhoudsset |
Verwijder deze afdekking wanneer u de onderhoudscassette wilt vervangen. U hebt een platte schroevendraaier nodig om de onderhoudsset te verwijderen. De onderhoudsset is een houder waarin kleine hoeveelheden overtollige inkt wordt opgevangen tijdens het reinigen of afdrukken. |
|
|
USB-poort |
Voor aansluiting van een USB-kabel als verbinding met een computer. |
|
|
Netsnoeraansluiting |
Voor aansluiting van het netsnoer. |