
|
|
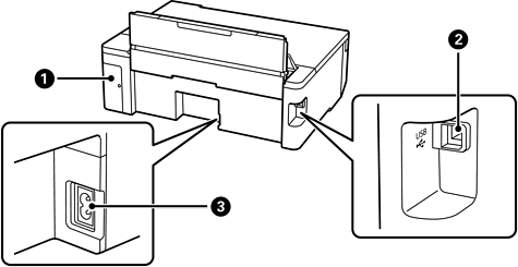
Deksel for vedlikeholdsboksen |
Fjern denne når du skifter ut vedlikeholdsboksen. Du trenger en flat skrutrekker for å fjerne vedlikeholdsboksen. Vedlikeholdsboksen er en beholder som samler inn veldig små mengder ekstra blekk i løpet av rengjøring og utskrift. |
|
|
USB-port |
Kobler til en USB-kabel for å koble til en datamaskin. |
|
|
AC-inngang |
Kobler til strømkabelen. |