打印
打印
目录
L11058 喷墨打印机
用户指南
搜索
>
部件名称和功能
>
背面
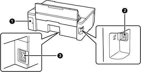
背面
维护箱盖
更换维护箱时取下。需要使用平头螺丝刀取下维护箱。维护箱用来收集清洗或打印期间产生的少量多余墨水。
USB 端口
使用 USB 数据线连接至计算机。
交流电入口
连接电源线。
打印所选页面