
|
|
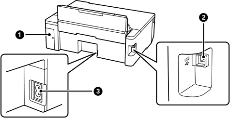
Kryt skrinky údržby |
Odoberte ho pri výmene údržbovej kazety. Na vybratie skrinky údržby potrebujete skrutkovač s plochou hlavou. Skrinka údržby je zásobník, v ktorom sa zhromažďuje malé množstvo zvyškov atramentu počas čistenia alebo tlače. |
|
|
Port USB |
Pripája USB kábel na pripojenie k počítaču. |
|
|
Vstup pre striedavý prúd |
Slúži na pripojenie napájacieho kábla. |