
|
|
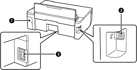
Pokrov vzdrževalne škatlice |
Odstranite ga pri zamenjavi vzdrževalne škatlice. Za odstranitev vzdrževalne škatlice potrebujete ploski izvijač. Vzdrževalna škatlica je vsebnik za zbiranje zelo majhne količine odvečnega črnila med čiščenjem ali tiskanjem. |
|
|
Vrata USB |
Za priključitev kabla USB, s katerim lahko tiskalnik priključite na računalnik. |
|
|
Priključek za elektriko |
Za priključitev napajalnega kabla. |