
|
|
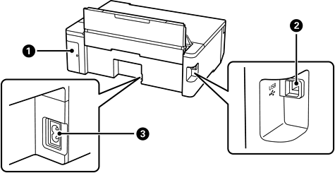
Кришка коробки для обслуговування |
Для заміни контейнера зніміть кришку. Для зняття контейнера для відпрацьованого чорнила вам потрібна викрутка з пласкою голівкою. Контейнер для відпрацьованого чорнила — це контейнер, що збирає дуже малу кількість надлишкового чорнила під час очищення або друку. |
|
|
Порт USB |
Використовується для підключення до комп’ютера через кабель USB. |
|
|
Вхідний роз’єм змінного струму |
Для підключення шнура живлення. |