
|
|
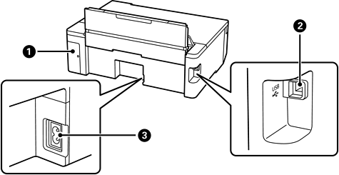
Texnik xizmat ko‘rsatish qutisi qopqog‘i |
Texnik xizmat qutisini almashtirishda olib tashlang. Texnik xizmat ko‘rsatish qutisini chiqarib olish uchun sizga minusli buragich kerak boʻladi. Texnik xizmat ko‘rsatish qutisi tozalash yoki chop qilish paytida juda oz miqdordagi qo‘shimcha siyohni yig‘uvchi idishdir. |
|
|
USB porti |
Kompyuterga ulanish uchun USB kabelini ulang. |
|
|
O‘zgaruvchan tok kirish uyachasi |
Quvvat shnurini ulaydi. |