
|
|
Umpan kertas bagian belakang |
Memasukkan kertas. |
|
|
Penopang kertas |
Menahan kertas yang telah dimasukkan. |
|
|
Panduan tepi |
Memasukkan kertas langsung ke printer. Geser hingga ke tepi kertas. |
|
|
Panel kontrol |
Memungkinkan Anda mengoperasikan printer dan menunjukkan status printer. |
|
|
Baki keluaran |
Menampung kertas yang dikeluarkan. |
|
|
Penghenti |
Atur posisi penghenti agar hasil cetakan tidak terjatuh dari baki keluaran. |

|
|
Penutup printer |
Buka saat melepaskan kertas macet di dalam printer. Biarkan penutup ini tetap terpasang selagi printer tidak digunakan, agar tidak ada benda asing yang masuk ke printer. |
|
|
Tutup tangki tinta |
Buka untuk mengisi ulang tangki tinta. |
|
|
Penutup tabung tinta |
|
|
|
Unit tabung tinta |
Berisi tabung tinta. |
|
|
Tabung penampungan tinta (Tabung tinta) |
Memasok tinta ke kepala cetak. |
|
|
Penutup depan |
Buka saat melepaskan kertas macet di dalam printer. |
|
|
Penahan penutup printer |
Tahan penutup printer saat Anda membukanya. |
|
|
Kepala cetak |
Tinta dikeluarkan dari nozel kepala cetak di bawah. |

|
|
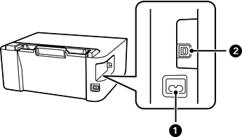
Saluran masuk AC |
Menghubungkan kabel daya. |
|
|
Port USB |
Menghubungkan kabel USB agar terhubung ke komputer. |