
|
|
후면 용지 급지 장치 |
용지를 급지합니다. |
|
|
용지 지지대 |
장착된 용지를 지지합니다. |
|
|
가장자리 가이드 |
프린터에 용지를 반듯하게 공급합니다. 용지 가장자리에 닿도록 이동합니다. |
|
|
제어판 |
프린터를 작동하고 프린터의 상태를 나타냅니다. |
|
|
배출 트레이 |
배출된 용지가 놓입니다. |
|
|
스토퍼 |
인쇄물이 배출 트레이에서 떨어지지 않도록 하려면 스토퍼로 막습니다. |

|
|
프린터 덮개 |
프린터 내부에 걸린 용지를 제거할 때 엽니다. 프린터를 사용하지 않을 때는 이 덮개를 닫아 이물질이 프린터에 들어가는 것을 방지하십시오. |
|
|
잉크 탱크 마개 |
잉크 탱크 공급 시 엽니다. |
|
|
잉크 탱크 덮개 |
|
|
|
잉크 탱크 장치 |
잉크 탱크를 포함합니다. |
|
|
잉크 저장 탱크 (잉크 탱크) |
프린터 헤드에 잉크를 공급합니다. |
|
|
전면 덮개 |
프린터 내부에 걸린 용지를 제거할 때 엽니다. |
|
|
프린터 덮개 지지대 |
프린터 덮개를 열 때 지지합니다. |
|
|
프린트 헤드 |
프린트 헤드 노즐 아래에서 잉크가 분사됩니다. |

|
|
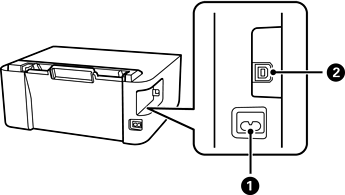
AC 전원 포트 |
전원 코드를 연결합니다. |
|
|
USB 포트 |
USB 케이블로 컴퓨터와 연결합니다. |