
|
|
Задно подаване на хартия |
Зарежда хартия. |
|
|
Държач на хартия |
Поддържа заредената хартия. |
|
|
Водач за хартия |
Подава хартията в принтера. Приплъзнете водачите, докато се подравнят с краищата на хартията. |
|
|
Контролен панел |
Позволява Ви да работите с принтера и посочва състоянието на принтера. |
|
|
Изходна тава |
Придържа излизащата хартия. |
|
|
Ограничител |
Позиционирайте ограничителя, за да предотвратите изпадане на разпечатките от изходната тава. |

|
|
Капак на принтера |
Отваря се при премахване на заседнала в принтера хартия. Дръжте този капак затворен, докато принтерът не се използва, за да се предотврати проникването на чужди вещества в принтера. |
|
|
Капачка на резервоара за мастило |
Отворете, за да допълните резервоара за мастило. |
|
|
Капак на резервоара за мастило |
|
|
|
Модул на резервоара за мастило |
В него се намират резервоарите с мастило. |
|
|
Резервоар с мастило (бутилка с мастило) |
Подават мастило към печатащата глава. |
|
|
Преден капак |
Отваря се при премахване на заседнала в принтера хартия. |
|
|
Държач на капака на принтера |
Поддържа капака на принтера, когато го отворите. |
|
|
Печатаща глава |
Мастилото се инжектира от дюзите на печатащите глави отдолу. |

|
|
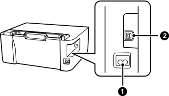
Вход за променливотоково захранване |
За свързване на захранващия кабел. |
|
|
USB порт |
За свързване на USB кабел за връзка с компютър. |