
|
|
Alimentador de papel posterior |
Cargue el papel. |
|
|
Soporte del papel |
Soporta el papel cargado. |
|
|
Guía para bordes |
Proporciona el papel directamente a la impresora. Deslice hasta los bordes del papel. |
|
|
Panel de control |
Le permite manejar la impresora e indica el estado de la misma. |
|
|
Bandeja de salida |
Retiene el papel expulsado. |
|
|
Tope |
Coloque el tope de forma que las impresiones no se caigan de la bandeja de salida. |

|
|
Cubierta de la impresora |
Se debe abrir para retirar los originales atascados dentro de la impresora. Mantenga esta cubierta cerrada mientras no utilice la impresora uso para evitar que cuerpos extraños puedan introducirse en ella. |
|
|
Tapa del tanque de tinta |
Ábrala para rellenar el tanque de tinta. |
|
|
Cubierta del tanque de tinta |
|
|
|
Unidad de tanques de tinta |
Contiene los tanques de tinta. |
|
|
Depósito de tinta (tanque de tinta) |
Suministra tinta al cabezal de impresión. |
|
|
Cubierta frontal |
Se debe abrir para retirar los originales atascados dentro de la impresora. |
|
|
Soporte de cubierta de la impresora |
Sostiene la cubierta de la impresora al abrirla. |
|
|
Cabezal de impresión |
La tinta sale de los inyectores del cabezal de impresión debajo. |

|
|
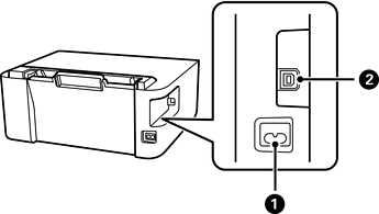
Entrada de CA |
Conecte aquí el cable de alimentación. |
|
|
Puerto USB |
Aquí se enchufa el cable USB para conectarla con el ordenador. |