
|
|
Stražnji ulagač papira |
Uvlači papir. |
|
|
Potpora papira |
Pridržava umetnuti papir. |
|
|
Rubna vodilica |
Usmjerava papir izravno u pisač. Pomaknite je do rubova papira. |
|
|
Upravljačka ploča |
Omogućava vam korištenje pisača i pokazuje njegov status. |
|
|
Izlazni pretinac |
Pridržava izbačeni papir. |
|
|
Graničnik |
Namjestite graničnik kako biste spriječili ispadanje ispisa iz izlaznog pretinca. |

|
|
Poklopac pisača |
Otvorite kada želite ukloniti papir zaglavljen unutar pisača. Držite ovaj poklopac zatvoren dok se pisač ne koristi kako biste spriječili ulazak stranih tvari u pisač. |
|
|
Kapica spremnika tinte |
Otvorite kako biste napunili spremnik za tintu. |
|
|
Poklopac spremnika tinte |
|
|
|
Jedinica spremnika za tintu |
Sadrži spremnike za tintu. |
|
|
Spremnici za tintu |
Doprema tintu do ispisne glave. |
|
|
Prednji poklopac |
Otvorite kada želite ukloniti papir zaglavljen unutar pisača. |
|
|
Oslonac poklopca pisača |
Drži poklopac pisača tijekom njegovog otvaranja. |
|
|
Ispisna glava |
Tintu ubrizgavaju donje mlaznice ispisne glave. |

|
|
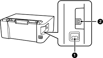
AC ulaz |
Služi kao priključak za kabel za napajanje. |
|
|
Ulaz USB |
Povezuje USB kabel radi spajanja s računalom. |