
|
|
Hátsó papíradagoló |
Papír betöltése. |
|
|
Papírtámasztó |
A betöltött papírt támasztja alá. |
|
|
Élvezető |
A papírt közvetlenül a nyomtatóba adagolja. Csúsztassa a papírlap széleihez. |
|
|
Vezérlőpanel |
Lehetővé teszi a nyomtató működtetését, valamint jelzi a nyomtató állapotát. |
|
|
Kimeneti tálca |
A kiadott papírt tartja. |
|
|
Ütköző |
Az ütköző pozícionálásával megakadályozható, hogy a kinyomtatott lapok leessenek a kimeneti tálcáról. |

|
|
Nyomtatófedél |
Nyissa ki, ha elakadt papírt távolít el a nyomtató belsejéből. Ügyeljen rá, hogy ez a fedél legyen zárva, amikor a nyomtatót nem használja, így megakadályozhatja, hogy idegen anyagok kerüljenek a nyomtatóba. |
|
|
A tintatartály kupakja |
Nyissa fel a tintatartály újbóli feltöltéséhez. |
|
|
Tintatartály fedele |
|
|
|
Tintatartály egység |
Ebben vannak a tintatartályok. |
|
|
Tintatároló tartály (tintatartály) |
Eljuttatja a tintát a nyomtatófejhez. |
|
|
Első burkolat |
Nyissa ki, ha elakadt papírt távolít el a nyomtató belsejéből. |
|
|
A nyomtató fedelének a támasza |
Megtartja a nyomtató fedelét annak kinyitásakor. |
|
|
Nyomtatófej |
A tintát az alattuk lévő nyomtatófej fúvókái adagolják. |

|
|
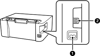
AC csatlakozó |
A hálózati kábel csatlakoztatása. |
|
|
USB-port |
Ebbe a portba egy USB-kábelt csatlakoztathat, ha számítógéphez szeretné csatlakoztatni a készüléket. |