背面

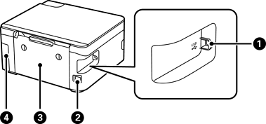
USB 端口

使用 USB 数据线连接至计算机。

交流电入口

连接电源线。

后部部件 (D)

取出夹纸时取下。

维护箱盖 (L)

更换维护箱时取下。维护箱是在清洗或打印期间用来收集产生的少量多余墨水的容器。