Извадете държача на хартия.
ET-4900 Series/L5390 Series

ET-2900 Series/ET-2920 Series/L3360 Series

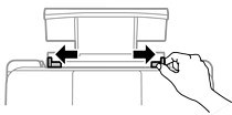
Плъзнете водачите за хартия навън.

Заредете хартия в центъра на опората за хартия, като страната за печат трябва да сочи нагоре.

Не зареждайте повече от максималния брой листове, посочен за хартията. При обикновена хартия не зареждайте над линията точно под символа
на ръба на водачите.
Заредете хартията с късата страна напред. Ако обаче сте определили дългата страна като ширина на зададения от потребителя размер, заредете хартията с дългата страна напред.
Плъзнете водачите за хартия към краищата на хартията.

Изберете размера и типа на хартията на LCD екрана.
Този екран не се показва, ако сте дезактивирали Авт. пок. настр. х-я.
Изтеглете изходната тава.

Върнете останалата хартия в пакета й. Ако я оставите в принтера, хартията може да се огъне или качеството на печат да се влоши.