Vysuňte podporu papíru.
ET-4900 Series/L5390 Series

ET-2900 Series/ET-2920 Series/L3360 Series

Vysuňte vodítka okrajů.

Vložte papír do středu podpory papíru tiskovou stranou nahoru.

Nevkládejte více, než je uvedený maximální počet listů pro papír. Nevkládejte obyčejný papír nad rysku, která se nachází pod symboly
na vodítkách okrajů.
Vložte papír krátkou stranou dopředu. Pokud jste však nastavili jako šířku dlouhou stranu, vložte papír dlouhou stranou dopředu.
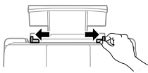
Posuňte vodítka okrajů k okrajům papíru.

Vyberte formát a typ papíru na LCD obrazovce.
Pokud jste vypnuli možnost AutoZobrNasPap, tato obrazovka se nezobrazí.
Vysuňte výstupní zásobník.

Zbývající papír vraťte do obalu. Ponecháte-li papír v tiskárně, může se papír zkroutit nebo se může zhoršit kvalita tisku.