Ziehen Sie die Papierstütze heraus.
ET-4900 Series/L5390 Series

ET-2900 Series/ET-2920 Series/L3360 Series

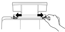
Schieben Sie die Kantenführungen nach außen.

Legen Sie das Papier in der Mitte der Papierstütze mit der zu bedruckenden Seite nach oben ein.

Legen Sie nicht mehr Blätter ein, als die für das Papier angegebene Höchstzahl. Legen Sie Normalpapier nicht über die Linie direkt unter den Symbolen
an den Papierführungsschienen ein.
Legen Sie Papier mit der kurzen Kante zuerst ein. Wenn Sie jedoch die Breite des benutzerdefinierten Formats an der Längskante ausgerichtet haben, legen Sie das Papier zuerst mit der Längskante ein.
Schieben Sie die Kantenführungen an die Papierkanten heran.

Wählen Sie das Papierformat und die Papiersorte auf dem LCD-Bildschirm.
Der Bildschirm wird nicht angezeigt, falls Auto-Anz. Papiereinr. deaktiviert wurde.
Ziehen Sie das Ausgabefach heraus.

Legen Sie das restliche Papier zurück in seine Verpackung. Wenn Sie das Papier im Drucker lassen, wellt es sich unter Umständen, sodass die Druckqualität abnimmt.