Τραβήξτε έξω τη στήριξη χαρτιού.
ET-4900 Series/L5390 Series

ET-2900 Series/ET-2920 Series/L3360 Series

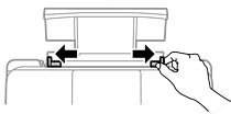
Κυλήστε προς τα έξω τους πλαϊνούς οδηγούς.

Τοποθετήστε χαρτί στο κέντρο της στήριξης χαρτιού με την εκτυπώσιμη πλευρά στραμμένη προς τα επάνω.

Μην τοποθετείτε περισσότερα φύλλα από το μέγιστο αριθμό που έχει καθοριστεί για το χαρτί. Για απλό χαρτί, μην τοποθετήσετε χαρτί πάνω από τη γραμμή κάτω από τα σύμβολα
στο εσωτερικό των οδηγών άκρων.
Τοποθετήστε χαρτί με τη μικρή πλευρά πρώτα. Ωστόσο, όταν έχετε ρυθμίσει την επιμήκη πλευρά ως το πλάτος του μεγέθους που ορίζεται από τον χρήστη, τοποθετήστε το χαρτί πρώτα με την επιμήκη πλευρά.
Σύρετε τους οδηγούς άκρων προς τα άκρα του χαρτιού.

Επιλέξτε το μέγεθος και τον τύπο χαρτιού στην οθόνη LCD.
Αυτή η οθόνη δεν εμφανίζεται αν έχετε απενεργοποιήσει το Αυτ. εμφ. ρύθμ. χαρτ..
Σύρετε το δίσκο εξόδου προς τα έξω.

Τοποθετήστε το χαρτί που απομένει ξανά στη συσκευασία του. Εάν το αφήσετε στον εκτυπωτή, το χαρτί μπορεί να κυρτώσει ή να μειωθεί η ποιότητα της εκτύπωσης.