Saque el soporte de papel.
ET-4900 Series/L5390 Series

ET-2900 Series/ET-2920 Series/L3360 Series

Despliegue las guías de borde.

Cargue papel en el centro del soporte de papel con la cara imprimible hacia arriba.

No cargue más hojas que el número máximo especificado para el papel. Si es papel normal, no lo cargue por encima de la línea que hay justo debajo de los símbolos
de las guías de borde.
Cargue el papel por el lado corto. Con todo, si ha definido el lado largo como anchura del tamaño definido por el usuario, cargue el papel por el lado largo.
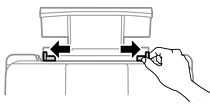
Deslice las guías de bordes hasta los bordes del papel.

Seleccione el tamaño y el tipo de papel en la pantalla LCD.
Esta pantalla no se muestra si ha desactivado Vis. aut. conf. papel.
Despliegue la bandeja de salida.

Vuelva a colocar en su paquete el papel restante. Si lo deja en la impresora, el papel podría combarse o la calidad de impresión podría decaer.