Dépliez le guide papier.
ET-4900 Series/L5390 Series

ET-2900 Series/ET-2920 Series/L3360 Series

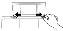
Faites glisser les guides latéraux vers l’extérieur.

Chargez le papier au centre du guide papier avec le côté imprimable vers le haut.

Ne chargez pas plus de feuilles que le nombre maximum indiqué pour le papier. Si vous utilisez du papier ordinaire, ne chargez pas le papier au-delà de la ligne située sous les symboles
des guides latéraux.
Commencez par charger le bord court du papier. Toutefois, si vous avez défini le bord long comme largeur de la taille définie par l’utilisateur, commencez par charger le bord long du papier.
Faites glisser les guides latéraux contre les bords du papier.

Sélectionnez la taille et le type de papier sur l’écran LCD.
Cet écran ne s’affiche pas si vous avez désactivé Affich auto conf pap.
Faites coulisser le bac de sortie.

Remettez le papier restant dans son emballage. Si vous le laissez dans l’imprimante, le papier peut gondoler ou la qualité d’impression peut se dégrader.