משוך החוצה את תמיכת הנייר.
ET-4900 Series/L5390 Series

ET-2900 Series/ET-2920 Series/L3360 Series

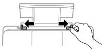
החלק את מוליכי הקצוות כלפי חוץ.

טען נייר במרכז תמיכת הנייר כשהצד הניתן להדפסה פונה כלפי מעלה.

אל תכניס יותר דפים מהכמות המרבית של דפים שניתן. במקרה של נייר רגיל, אל תטען מעבר מתחת לסמל
שמופיע במסילות הצדדיות.
טען תחילה את הקצה הקצר. עם זאת, אם הגדרת את הקצה הארוך כרוחב של גודל נייר הנקבע על ידי המשתמש, טען את הנייר עם הקצה הארוך תחילה.
החלק את מוליכי הקצוות אל קצוות הנייר.

בחר בגודל הנייר ובסוג הנייר שטענת מצג ה-LCD.
מסך זה לא מוצג אם השבתת את הצגת הגדרת הנייר.
החלק את מגש הפלט החוצה.

החזר את שארית הנייר לאריזתו. אם תשאיר אותו במדפסת, הנייר עלול להסתלסל או איכות ההדפסה עלולה לרדת.