Keluarkan penopang kertas.
ET-4900 Series/L5390 Series

ET-2900 Series/ET-2920 Series/L3360 Series

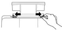
Geser pemandu tepi keluar.

Masukkan kertas di bagian tengah penopang kertas dengan sisi yang akan dicetak menghadap ke atas.

Jangan masukkan lebih dari jumlah lembar maksimal yang ditetapkan untuk jenis kertas tersebut. Untuk kertas biasa, jangan masukkan lebih dari garis yang ada di bawah simbol
pada pemandu ujung kertas.
Masukkan tepi pendek terlebih dahulu. Namun, jika Anda sudah mengatur tepi kertas yang panjang sebagai lebar ukuran yang ditentukan pengguna, masukkan tepi yang panjang terlebih dahulu.
Geser pemandu ujung kertas hingga ke tepi kertas.

Pilih ukuran kertas dan jenis kertas di layar LCD.
Layar ini tidak akan ditampilkan jika Anda menonaktifkan Lyr Oto Setup Krts.
Geser baki keluaran.

Kembalikan sisa kertas ke dalam kemasannya. Jika Anda meninggalkannya di printer, kertas akan menggulung dan hal ini akan mengurangi kualitas pencetakan.