Estrarre il supporto carta.
ET-4900 Series/L5390 Series

ET-2900 Series/ET-2920 Series/L3360 Series

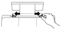
Far scorrere all'esterno le guide laterali.

Caricare carta al centro del supporto della carta, con il lato da stampare rivolto verso l’alto.

Non caricare più fogli di quelli consentiti per il tipo di carta in uso. Per la carta comune, i fogli caricati non devono oltrepassare la linea appena al di sotto dei simboli
sulle guide laterali.
Caricare la carta inserendola dal lato corto. Tuttavia, se la larghezza del formato definito dall’utente è stata impostata sul lato lungo della carta, inserire la carta dal lato lungo.
Far scorrere le guide laterali fino ad allinearle ai bordi dei fogli.

Selezionare il formato carta e il tipo di carta sullo schermo LCD.
Questa schermata viene visualizzata se è stato disabilitato Vis auto config carta.
Estrarre il vassoio di uscita.

Riporre la carta superflua nella confezione originale. Se viene mantenuta nella stampante, la carta potrebbe incurvarsi o provocare il peggioramento della qualità di stampa.