用紙サポートを引き出します。
ET-4900 Series/L5390 Series

ET-2900 Series/ET-2920 Series/L3360 Series

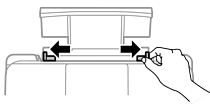
用紙ガイドを広げます。

印刷する面を手前にして、用紙サポートの中央にセットします。

セット可能枚数を超えてセットしないでください。普通紙は用紙ガイドの
マークが示す線を越えてセットしないでください。
用紙は縦長にセットします。ただし、ユーザー定義サイズで、用紙の長辺を用紙幅として設定した用紙は横長にセットしてください。
用紙ガイドを用紙の側面に合わせます。

用紙サイズを選択して、LCD画面上で用紙種類を選択します。
この画面は[設定画面自動表示]を無効にしていると表示されません。
排紙トレイを引き出します。

印刷用紙の残りはパッケージに入れて保管してください。プリンターにセットしたまま放置すると、反りや品質低下の原因になります。