용지 지지대를 당겨 꺼냅니다.
ET-4900 Series/L5390 Series

ET-2900 Series/ET-2920 Series/L3360 Series

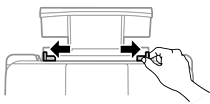
가장자리 가이드를 밀어냅니다.

인쇄 면이 위로 향하게 하여 용지 지지대의 중앙에 용지를 급지합니다.

용지 사양에 있는 매수 이상으로 급지하지 마십시오. 일반 용지의 경우, 가장자리 가이드에 표시된
기호 아래의 선 이상으로 급지하지 마십시오.
먼저 용지의 짧은 가장자리를 급지합니다. 하지만 긴 가장자리를 사용자 정의된 크기의 너비로 설정한 경우 먼저 용지 긴 가장자리를 급지합니다.
가장자리 가이드를 용지 가장자리로 밉니다.

LCD 화면에서 용지 크기 및 용지 유형을 선택합니다.
용지 설정 자동 표시를 비활성화한 경우 이 화면이 표시되지 않습니다.
배출 트레이를 밀어냅니다.

나머지 용지를 포장에 다시 넣습니다. 프린터에 둘 경우 용지가 말리거나 인쇄 품질이 저하될 수 있습니다.