Izvelciet papīra balstu.
ET-4900 Series/L5390 Series

ET-2900 Series/ET-2920 Series/L3360 Series

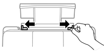
Virziet malu vadotnes uz āru.

Ievietojiet papīru papīra balsta centrā ar apdrukājamo pusi uz augšu.

Neievietojiet vairāk par papīra veidam norādīto maksimālo lokšņu skaitu. Ja izmantojat parastu papīru, neievietojiet to virs līnijas, kas atrodas tieši zem simboliem
uz malu vadotnēm.
Vispirms ievietojiet papīra īso malu. Tomēr, ja garā mala ir iestatīta kā lietotāja norādītā izmēra platums, vispirms ievietojiet papīra garo malu.
Piebīdiet malu vadotnes pie papīra malām.

LCD ekrānā atlasiet papīra izmēru un papīra veidu.
Šis ekrāns netiek parādīts, ja funkcija Pap. iest. aut. attēl. ir atspējota.
Izbīdiet izvades paliktni.

Ievietojiet atlikušo papīru iepakojumā. Ja tas tiek atstāts printerī, papīrs var sarullēties vai drukas kvalitāte var pasliktināties.