Tarik sokongan kertas.
ET-4900 Series/L5390 Series

ET-2900 Series/ET-2920 Series/L3360 Series

Tarik keluar panduan tepi.

Isikan kertas di bahagian tengah sokongan kertas dengan bahagian boleh dicetak menghadap ke atas.

Jangan memuatkan lebih daripada bilangan maksimum helaian yang ditetapkan untuk kertas. Untuk kertas biasa, jangan isi di atas garisan yang hanya di bawah simbol
pada panduan tepi.
Muatkan tepi pendek kertas dahulu. Walau bagaimanapun, apabila anda telah menetapkan tepi panjang sebagai lebar saiz tentuan pengguna, muatkan tepi panjang kertas dahulu.
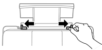
Tolak panduan tepi hingga rapat ke tepi kertas.

Pilih saiz kertas dan jenis kertas pada skrin LCD.
Skrin ini tidak dipaparkan jika anda telah menyahdayakan Pprn Auto Prsd Krts.
Luncur keluarkan dulang output.

Kembalikan baki kertas ke bungkusannya. Sekiranya anda membiarkan ia dalam pencetak, kertas mungkin bergulung atau kualiti cetakan mungkin menurun.