Retire o suporte de papel.
ET-4900 Series/L5390 Series

ET-2900 Series/ET-2920 Series/L3360 Series

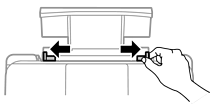
Deslize os guias de margem para fora.

Coloque o papel no centro do suporte de papel com a face imprimível voltada para cima.

Não coloque mais folhas do que o número máximo de folhas especificado para o papel. Para papel comum, não coloque acima da linha situada abaixo dos símbolos
nos guias de margem.
Carregue o papel com a extremidade mais curta para a frente. No entanto, se definir a margem mais longa como largura do tamanho definido pelo utilizador, carregue a extremidade mais longa primeiro.
Deslize as guias de margem para as extremidades do papel.

Selecione o tamanho e o tipo de papel no ecrã LCD.
Esta janela não é exibida se tiver desativado Auto exib confg papel.
Deslize o tabuleiro de saída para fora.

Reponha o papel restante na embalagem. Se o deixar na impressora, pode enrolar ou a qualidade de impressão pode diminuir.