Выдвиньте подставку для бумаги.
ET-4900 Series/L5390 Series

ET-2900 Series/ET-2920 Series/L3360 Series

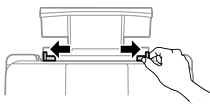
Разведите направляющие краев в разные стороны.

Загрузите бумагу по центру подставки для бумаги стороной для печати вверх.

При загрузке бумаги не превышайте максимально допустимое количество листов, установленное для этой бумаги. Не загружайте простую бумагу выше значков
с внутренней стороны направляющих краев.
Загружайте бумагу коротким краем вперед. Однако если длинный край указан в качестве ширины размера, определенного пользователем, то вперед должен быть направлен длинный край.
Передвиньте боковые направляющие к краям бумаги.

Выберите размер и тип бумаги на ЖК-экране.
Этот экран не отображается, если вы отключили параметр Автоотобр.наст.бум..
Выдвиньте выходной лоток.

Верните оставшуюся бумагу в упаковку. Если оставить ее в принтере, она может свернуться, при этом качество печати снизится.