> 装入打印纸 > 装入打印纸 > 在后进纸器中装入打印纸

在后进纸器中装入打印纸

  1. 拉出纸托。

    L5398

    L3366/L3367/L3369

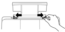
  2. 滑动侧导轨。

  3. 将打印纸装入纸托的中央,并使打印面朝上。

    重要:
    • 装入的打印纸不要超出指定的最大张数。对于普通纸,装入时请不要高于侧导轨上 符号下方的界线。

    • 首先装入短边。如果已将长边设置为用户自定义尺寸的宽度,则先装入打印纸长边。

  4. 将侧导轨滑到打印纸边缘。

  5. 在液晶显示屏上选择打印纸尺寸和打印纸类型。

    注释:

    如果禁用打印纸设置自动显示,则不会显示此屏幕。

  6. 滑出出纸器。

    注释:

    将剩余的打印纸放回到包装中。如果将其保留在本产品中,可能导致打印纸卷曲或者打印质量下降。