Izvlecite podprt papir.
ET-4900 Series/L5390 Series

ET-2900 Series/ET-2920 Series/L3360 Series

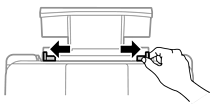
Potisnite vodili robov navzven.

Papir naložite na sredino podpore za papir tako, da je stran za tiskanje obrnjena navzgor.

Ne nalagajte več kot največje število listov, določeno za papir. Pri uporabi navadnega papirja ga ne vstavljajte nad črto tik pod simbolom
na vodilih robov.
Papir naložite tako, da najprej vstavite krajši rob. Toda, če ste za širino uporabniške velikosti nastavili daljši rob, najprej vstavite daljši rob.
Vodila robov nastavite ob rob papirja.

Na zaslonu LCD izberite velikost in vrsto papirja.
Ta zaslon ne bo prikazan, če ste onemogočili možnost Sam. prik. nas. p..
Izvlecite izhodni pladenj.

Preostanek papirja pospravite nazaj v paket. Če ga pustite v tiskalniku, se lahko papir zvije ali zniža kakovost tiskanja.