拉出紙張支援板。
ET-4900 Series/L5390 Series

ET-2900 Series/ET-2920 Series/L3360 Series

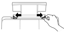
滑出紙張邊緣定位器。

將紙張放入紙張支撐板中央,可列印的那面朝上。

放入的紙張數量不要超過規定的最大紙張數。使用普通紙時,勿使裝載量超過紙張邊緣定位器
符號下方的標示線。
先從紙張的短邊放入。但若您已將長邊設為使用者定義大小的寬度,請先從紙張的長邊放入。
將紙張邊緣定位器滑到紙張的邊緣。

在 LCD 螢幕上選取紙張大小與紙張種類。
如果您已停用 [紙張設定自動顯示],此畫面不會顯示。
將出紙托盤向外拉出。

將剩餘的紙張裝回其包裝中。若將剩餘的紙張留在印表機內,紙張可能會捲曲或列印品質可能會下降。