ดึงตัวรองรับกระดาษออกมา
ET-4900 Series/L5390 Series

ET-2900 Series/ET-2920 Series/L3360 Series

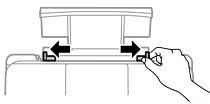
เลื่อนแนวจัดขอบออก

โหลดกระดาษที่ตรงกลางของที่รองรับกระดาษโดยให้ด้านจะทำการพิมพ์ได้หันหน้าขึ้น

อย่าใส่มากกว่าจำนวนแผ่นกระดาษสูงสุดที่ระบุไว้ สำหรับกระดาษแผ่นเรียบ อย่าโหลดเหนือเส้นแต่ให้อยู่ใต้สัญลักษณ
บนแนวจัดขอบ
โหลดขอบสั้นกว่าเข้าไปก่อน อย่างไรก็ตาม เมื่อคุณกำหนดขอบด้านยาวเป็นความกว้างของขนาดที่ผู้ใช้กำหนดเอง ให้โหลดกระดาษโดยให้ขอบสั้นเข้าไปก่อน
เลื่อนแนวจัดขอบไปยังขอบของกระดาษ

เลือกขนาดกระดาษและประเภทกระดาษบนหน้าจอ LCD
หน้าจอนี้จะไม่แสดงขึ้นหากคุณได้ปิดใช้งาน แสดงตั้งค่ากระดาษอัตโนมัติ
เลื่อนถาดรับกระดาษออกออกมา

นำกระดาษที่เหลือไปใส่ไว้ในกล่องบรรจุภัณฑ์ของกระดาษ ถ้าคุณทิ้งไว้ในเครื่องพิมพ์ กระดาษอาจจะม้วนงอหรือคุณภาพการพิมพ์อาจด้อยลงได้