Kağıt desteğini dışa çekin.
ET-4900 Series/L5390 Series

ET-2900 Series/ET-2920 Series/L3360 Series

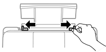
Kenar kılavuzlarını dışa kaydırın.

Kağıdı, yazdırılabilir yüzü yukarı bakacak şekilde kağıt desteğinin ortasına yerleştirin.

Kağıtta belirtilen maksimum sayıda sayfadan fazla yükleme yapmayın. Düz kağıt için, kenar kılavuzlarındaki
sembollerinin hemen altındaki çizginin üzerine yükleme yapmayın.
Öncelikle kağıt kısa kenarını yükleyin. Ancak uzun kenarı kullanıcı tanımlı boyutun genişliği olarak ayarladığınızda, öncelikle uzun kağıt kenarını yükleyin.
Yan kenar kılavuzlarını kağıdın kenarlarına kadar kaydırın.

LCD ekranda kağıt boyutunu ve kağıt türünü seçin.
Kâğıt Ayr Otm Görntle öğesini devre dışı bırakmadığınızda bu ekran görüntülenmez.
Çıkış tepsisini dışa kaydırın.

Kalan kağıdı paketine geri koyun. Kağıdı yazıcı içinde bırakmanız durumunda kağıt kıvrılabilir veya yazdırma kalitesi düşebilir.