Kéo bộ phận đỡ giấy ra.
ET-4900 Series/L5390 Series

ET-2900 Series/ET-2920 Series/L3360 Series

Trượt các thanh dẫn hướng cạnh ra.

Nạp giấy ở giữa bộ phận đỡ giấy với mặt in hướng lên trên.

Không nạp nhiều hơn số tờ tối đa đã quy định cho giấy. Với giấy thường, không nạp cao hơn vạch ngay phía dưới biểu tượng
trên thanh dẫn căn lề.
Nạp cạnh ngắn của giấy trước. Tuy nhiên, khi bạn đã đặt cạnh dài làm chiều rộng của khổ giấy do người dùng xác định thì hãy nạp cạnh dài của giấy trước.
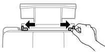
Trượt thanh dẫn hướng cạnh đến mép giấy.

Chọn khổ giấy và kiểu giấy trên màn hình LCD.
Màn hình này sẽ không hiển thị khi bạn đã tắt Tự hiện th.lập giấy.
Trượt khay đầu ra ra ngoài.

Cất giấy còn lại vào túi giấy. Nếu bạn để giấy trong máy in, giấy có thể quăn lại hoặc chất lượng in có thể suy giảm.