僅適用於 ET-3850 Series/L6270 Series

|
|
ADF(自動進紙器)護蓋 |
僅在清除 ADF 中卡住的原稿時才需打開。 |
|
|
ADF 進紙托盤 |
自動送入原稿。 |
|
|
ADF 紙張邊緣定位器 |
將原稿平直地送入印表機。滑至原稿邊緣。 |
|
|
ADF 文件支援 |
支援原稿。 |
|
|
ADF 延伸出紙托盤 |
支撐從 ADF 退出的 Legal 大小的原稿。確定您在使用 ADF 掃描 Legal 大小原稿時展開此項目。 |
|
|
ADF 出紙托盤 |
支撐從 ADF 退出的原稿。 |

|
|
出紙托盤 |
支撐退出的紙張。 |
|
|
進紙匣 |
放入紙張。 |
|
|
紙張邊緣定位器 |
將紙張平直地送入印表機。滑動至紙張邊緣。 |
|
|
延伸紙張導引器 |
滑出以裝入大於 A4 尺寸的紙張。 |

|
|
文件上蓋 |
掃描時阻擋外部光線。 |
|
|
工作平台 |
放置原稿。 |
|
|
控制面板 |
可讓您執行印表機設定和操作。 |
|
|
前蓋 |
打開以將紙張放入 進紙匣。 |

|
|
掃描單元 |
掃描放置的原稿。打開以填充大容量墨水槽或移除夾紙。此單元通常應保持關閉。 |
|
|
大容量墨水槽護蓋 |
打開以填充大容量墨水槽。 |
|
|
儲墨槽(大容量墨水槽) |
供應墨水至印字頭。 |
|
|
大容量墨水槽單元 |
用於安裝大容量墨水槽。 |
|
|
印字頭 |
墨水會從下方的印字頭噴嘴噴出。 |

|
|
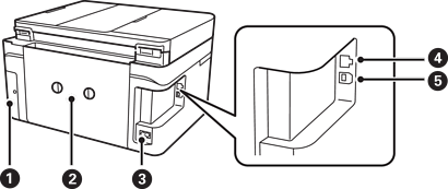
廢棄墨水收集盒護蓋 |
更換廢棄墨水收集盒時請移除。廢棄墨水收集盒是一個容器,可在清潔或列印期間收集非常少量的多餘墨水。 |
|
|
後方護蓋 |
僅在清除夾紙時才需打開。 |
|
|
AC 插座 |
連接電源連接線。 |
|
|
LAN 連接埠 |
連接 LAN 連接線。 |
|
|
USB 連接埠 |
使用 USB 連接線連接電腦。 |