सिर्फ़ ET-3850 Series/L6270 Series के लिए

|
|
ADF (स्वचालित दस्तावेज़ फ़ीडर) कवर |
ADF में फंसे मूल प्रतियों को निकालते समय खोलें। |
|
|
ADF इनपुट ट्रे |
स्वतः ही मूल प्रतियों को फ़ीड करता है। |
|
|
ADF किनारा गाइड |
प्रिंटर में मूल प्रतियों को सीधे फ़ीड करता है। मूल प्रतियों के किनारों तक खिसकाएं। |
|
|
ADF दस्तावेज़ सहायता |
मूल प्रति समर्थित करता है। |
|
|
ADF आउटपुट ट्रे विस्तार |
ADF से निकली लीगल आकार की मूल प्रतियों को थामता है। ADF का उपयोग करके लीगल आकार की मूल प्रतियों को स्कैन करते समय इसे विस्तारित करना सुनिश्चित करें। |
|
|
ADF आउटपुट ट्रे |
ADF से निकली मूल प्रतियाँ संभालता है। |

|
|
आउटपुट ट्रे |
इजेक्ट किए गए कागज़ को संभालता है। |
|
|
पेपर कैसेट |
कागज़ लोड करता है। |
|
|
किनारा गाइड |
प्रिंटर में कागज़ को सीधा फ़ीड करता है। कागज़ के किनारों तक खिसकाएँ। |
|
|
पेपर गाइड एक्सटेंशन |
A4 से अधिक बड़े आकार के कागज़ को लोड करने के लिए बाहर निकालें। |

|
|
दस्तावेज़ कवर |
स्कैन करते समय बाह्य प्रकाश अवरोधित करता है। |
|
|
स्कैनर ग्लास |
मूल प्रतियाँ रखें। |
|
|
कंट्रोल पैनल |
आपको प्रिंटर पर सेटिंग करने और कार्य निष्पादित करने की अनुमति देता है। |
|
|
आगे का कवर |
पेपर कैसेट में पेपर लोड करने के लिए खोलें। |

|
|
स्कैनर यूनिट |
रखी गई मूल सामग्रियों को स्कैन करता है। इंक टैंक को रिफ़िल करने या फंसे कागज़ को निकालने के लिए खोलें। इस यूनिट को सामान्यतः बंद रखना चाहिए। |
|
|
इंक टैंक का कवर |
इंक टैंक को रिफ़िल करने के लिए खोलें। |
|
|
इंक रिज़रवायर टैंक (इंक टैंक) |
प्रिंट हेड के लिए स्याही की आपूर्ति करता है। |
|
|
इंक टैंक यूनिट |
इसमें इंक टैंक होता है। |
|
|
प्रिंट हेड |
नीचे मौजूद प्रिंट हेड नोज़लों से इंक बाहर आ रही है। |

|
|
रखरखाव बॉक्स कवर |
रखरखाव बॉक्स को बदलते समय निकालें। रखरखाव बॉक्स वह कंटेनर है जो सफ़ाई या प्रिंटिंग के दौरान बहुत ही थोड़ी मात्रा में अतिरिक्त इंक को इकट्ठा करता है। |
|
|
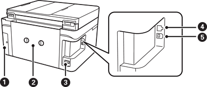
पिछला कवर |
फंसे हुए कागज़ को निकालते समय इसे निकालें। |
|
|
AC इनलेट |
पावर कॉर्ड कनेक्ट करता है। |
|
|
LAN पोर्ट |
LAN केबल कनेक्ट करता है। |
|
|
USB पोर्ट |
कंप्यूटर से कनेक्ट करने के लिए USB केबल कनेक्ट करता है। |