ET-3850 Series/L6270 Seriesのみ

|
|
ADF(オート ドキュメント フィーダー)カバー |
ADFに詰まった原稿を取り除くときに開けます。 |
|
|
ADFトレイ |
原稿を自動で送ります。 |
|
|
ADF原稿ガイド |
原稿をまっすぐ送るためのガイドです。原稿の側面に合わせてください。 |
|
|
ADF原稿サポート |
原稿を支えます。 |
|
|
ADF拡張トレイ |
ADFから排出された原稿を保持します。ADFでリーガルサイズの原稿をスキャンするときに広げます。 |
|
|
ADF排紙トレイ |
ADFから排出された原稿を保持します。 |

|
|
排紙トレイ |
印刷された用紙を保持します。 |
|
|
用紙カセット |
用紙をセットします。 |
|
|
用紙ガイド |
用紙をまっすぐ送るためのガイドです。用紙の側面に合わせてください。 |
|
|
延長用紙ガイド |
A4より長いサイズの用紙をセットするときに引き出します。 |

|
|
原稿カバー |
原稿の読み取り時に外部の光を遮ります。 |
|
|
原稿台 |
原稿をセットします。 |
|
|
操作パネル |
プリンターの操作や設定をします。 |
|
|
前面カバー |
用紙カセットに用紙をセットするときに開けます。 |

|
|
スキャナーユニット |
原稿をスキャンします。インクの補充や内部に詰まった用紙を取り除くときに開けます。通常は閉めておいてください。 |
|
|
インクタンクカバー |
インクタンクにインクを補充するときに開けます。 |
|
|
インクタンク |
プリントヘッドにインクを供給します。 |
|
|
インクタンクユニット |
インクタンクが収納されています。 |
|
|
プリントヘッド |
下部にインクを吐出するプリントヘッド(ノズル)があります。 |

|
|
メンテナンスボックスカバー |
メンテナンスボックスを交換するときに取り外します。メンテナンスボックスは、クリーニング時や印刷時に排出される廃インクを溜める容器です。 |
|
|
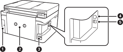
背面ユニット |
詰まった用紙を取り除くときに取り外します。 |
|
|
電源コネクター |
電源コードを接続します。 |
|
|
LANポート |
LANケーブルを接続します。 |
|
|
USBポート |
コンピューターと接続するためのUSBケーブルを接続します。 |