
|
|
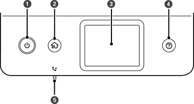
لتشغيل الطابعة أو إيقاف تشغيلها. افصل سلك الطاقة بعد التحقق من إيقاف تشغيل مصباح الطاقة. |
|
|
لعرض الشاشة الرئيسية. |
|
|
لعرض القوائم والرسائل. |
|
|
تعرض لك الحلول عندما تواجه مشكلة. |
|
|
يُضيء في حال تخزين المستندات المستلمة التي لم تتم قراءتها، أو طباعتها، أو حفظها بعد في ذاكرة الطابعة. |
* مخصّص لمنتجات ET-5170 Series/L6490 Series فقط