
|
|
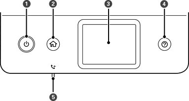
Включва или изключва принтера. Изключете захранващия кабел, след като проверите, че индикаторът за захранване е изключен. |
|
|
Показва началния екран. |
|
|
Показва менюта и съобщения. |
|
|
Показва решение, ако имате проблем. |
|
|
Включва се, когато документи, получени, но все още непрочетени, отпечатани или запазени, се съхраняват в паметта на принтера. |
* Само за ET-5170 Series/L6490 Series