
|
|
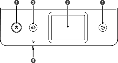
Zapíná a vypíná tiskárnu. Po kontrole zhasnutí kontrolky napájení odpojte napájecí kabel. |
|
|
Zobrazí domovskou obrazovku. |
|
|
Zobrazí nabídky a zprávy. |
|
|
Zobrazí řešení v případě potíží. |
|
|
Svítí, když se do paměti tiskárny uloží přijaté dokumenty, které dosud nebyly přečteny, vytištěny nebo uloženy. |
* Pouze pro ET-5170 Series/L6490 Series