
|
|
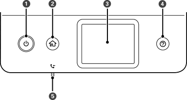
Ενεργοποιεί ή απενεργοποιεί τον εκτυπωτή. Βγάλτε το καλώδιο τροφοδοσίας από την πρίζα, αφού βεβαιωθείτε ότι έχει σβήσει η λυχνία λειτουργίας. |
|
|
Εμφανίζει την αρχική οθόνη. |
|
|
Εμφανίζει τα μενού και τα μηνύματα. |
|
|
Εμφανίζει τις διαθέσιμες λύσεις όταν αντιμετωπίζετε κάποιο πρόβλημα. |
|
|
Ανάβει όταν τα ληφθέντα έγγραφα, που δεν έχουν αναγνωσθεί, εκτυπωθεί ή αποθηκευτεί ακόμα, αποθηκεύονται στη μνήμη του εκτυπωτή. |
* Μόνο για ET-5170 Series/L6490 Series