
|
|
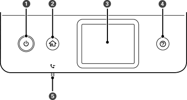
Lülitab printeri sisse või välja. Tõmmake toitekaabel pistikupesast välja siis, kui olete veendunud, et toitetuli ei põle. |
|
|
Kuvab avakuva. |
|
|
Kuvab menüüd ja teated. |
|
|
Kuvab lahendusi, kui teil on probleeme. |
|
|
Lülitub sisse, kui vastuvõetud dokumendid, mida pole veel loetud, prinditud ega salvestatud, salvestatakse printeri mällu. |
* Ainult ET-5170 Series/L6490 Series