> מדריך ללוח הבקרה > לוח בקרה

לוח בקרה

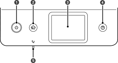
מכבה את המדפסת או מדליק אותה.

נתק את כבל החשמל אחרי שתוודא שנורית ההפעלה כבויה.

מציג את מסך הבית.

מציג תפריטים והודעות.

מציגה את הפתרונות כאשר אתה נתקל בבעיה.

*

נדלק כשהמסמכים שהתקבלו עדיין לא נקראו‏,  הודפסו או נשמרו ומאוחסנים בזיכרון של המדפסת.

* מיועד עבור ET‎-5170 Series/L6490 Series