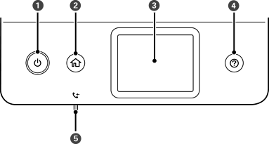
操作パネル

電源を入/切します。

電源コードを抜くときは、電源ランプが消灯していることを確認してから抜いてください。

ホーム画面を表示します。

項目やメッセージを表示します。

困ったときの対処方法が表示されます。

*

未処理(未読や印刷してない、未保存など)の受信文書があるときに点灯します。

* ET-5170 Series/L6490 Seriesのみ対応