> 操作面板指南 > 操作面板

操作面板

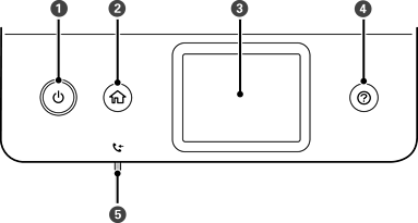
打开或关闭本产品电源。

请在确认电源指示灯熄灭后拔下电源线。

显示主屏幕。

显示菜单和信息。

遇到困难时显示解决方案。

*

当接收的尚未被读取、打印或保存的文档存储在本产品内存中时亮起。

* 仅适用于 L6498