
|
|
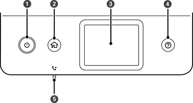
Umožňuje zapnúť alebo vypnúť tlačiareň. Napájací kábel odpojte, keď kontrolka napájania zhasne. |
|
|
Zobrazuje domovskú obrazovku. |
|
|
Zobrazuje ponuky a hlásenia. |
|
|
Zobrazuje riešenia, ak sa vyskytnú problémy. |
|
|
Svieti, ak sú v pamäti zariadenia uložené prijaté dokumenty, ktoré ešte neboli prečítané, vytlačené alebo uložené. |
* Len pre ET-5170 Series/L6490 Series