> 控制面板使用說明 > 控制面板

控制面板

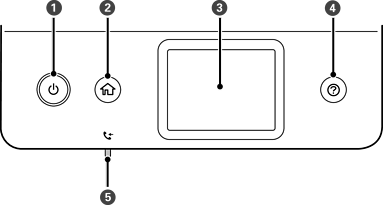
開啟或關閉印表機的電源。

檢查電源指示燈號熄滅後,拔下電源連接線。

顯示主畫面。

顯示功能表及訊息。

您遇到問題時,顯示解決方案。

*

在尚未讀取、列印或儲存的已接收文件儲存至印表機的記憶體時亮起。

* 僅適用於 ET-5170 Series/L6490 Series