
|
|
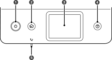
เปิดหรือปิดเครื่องพิมพ์ ถอดปลั๊กสายไฟหลังจากตรวจแล้วว่าไฟบ่งชี้ของปุ่มเปิด/ปิดดับแล้ว |
|
|
แสดงผลหน้าจอหลัก |
|
|
แสดงผลเมนูและข้อความ |
|
|
แสดงแนวทางแก้ไขปัญหาเมื่อคุณพบปัญหา |
|
|
เปิดเมื่อเอกสารที่ได้รับซึ่งยังไม่ได้อ่าน พิมพ์ หรือบันทึกถูกจัดเก็บไว้ในหน่วยความจำของเครื่องพิมพ์ |
* เฉพาะสำหรับ ET-5170 Series/L6490 Series